
光启技术晚间公告,全资子公司光启尖端近日与三家客户签订了合计6.96亿元的超材料产品批产合同。光启尖端合计将向三家客户交付金额为6.96亿元的超材料航空结构产品,相关产品预计将于2026年12月31日之前完成交付。本次合同的签订和履行预计对公司2026年度的经营业绩产生影响。
举报 相关阅读
天赐材料今日跌10.00% 2家机构专用席位净卖出3.86亿元天赐材料今日跌10.00% 2家机构专用席位净卖出3.86亿元
0 11-18 16:30
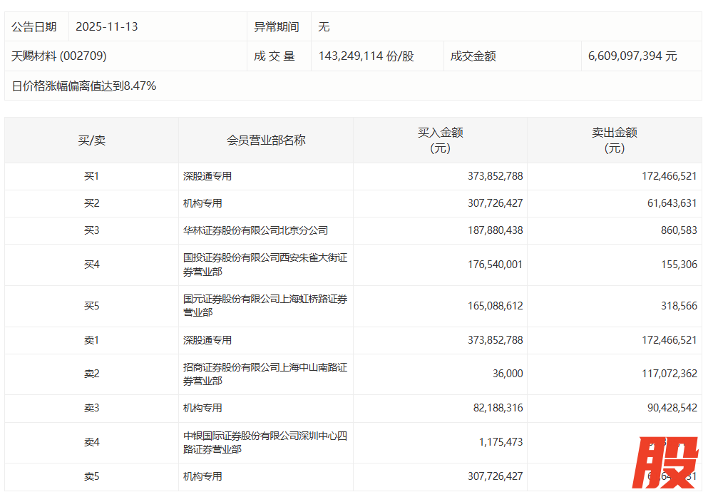
天赐材料今日涨停,1家机构专用席位净买入2.46亿元天赐材料今日涨停,1家机构专用席位净买入2.46亿元
0 11-13 16:30
558万合同却被索赔1.59亿,美迪西子公司被指“违约”有何隐情?双方各执一词,法庭见。
175 09-25 09:24
晶科能源股东温和减持19.6亿元引入22家机构,月初刚溢价出售子公司股权2025年上半年,晶科能源实现光伏组件出货41.8GW,位居全球第一。
9 86 09-16 18:24
10家金融机构被罚1.6亿元,个人追责力度也明显加大日前,国家金融监督管理总局发布一批处罚,指向8家银行和2家理财机构,合计罚没金额1.6亿元。
267 09-16 09:04 一财最热 点击关闭申宝配资提示:文章来自网络,不代表本站观点。